
![]() |
|
|
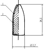
Пуля со свинцовым сердечником
|
|
1.Оболочка, 2.Свинцовый сердечник |
|
|
Характеристики пули
|
|
| Тип пули | оболочечная |
| Масса пули, г | 2,6 |
| Длина пули, мм | 14,0–14,2 |
| Диаметр ведущей части пули, мм | 5,59–5,70 |
| Поперечная нагрузка пули, г/см2 | 10,4 |
| Материал оболочки | сталь плакированная томпаком |
| Масса сердечника, г | 1,7–1,8 |
| Материал сердечника | свинец с примесью 1–2 % сурьмы |
| Дульная энергия пули (пистолет ПСМ), Дж | 129,0–137,3 |
|
Характеристики патрона
|
|
| Калибр, мм | 5,45 |
| Длина патрона, мм | 24,5–25,0 |
| Масса патрона, г | 4,80–4,82 |
| Тип крепления пули | 3-точечное кернение |
|
Характеристики порохового заряда:
|
|
| Тип пороха | пироксилиновый |
| Марка пороха | СФ |
| Масса порохового заряда, г | 0,15–0,17 |
| Максимальное давление пороховых газов, МПа (кг/см2) | 133 (1300) |
| Плотность заряжания, г/см3 | 0,60–0,68 |
|
Характеристики гильзы
|
|
| Тип гильзы | бутылочная |
| Масса гильзы, г | 2,09–2,10 |
| Длина гильзы, мм | 17,6–18,0 |
| Свободный объем гильзы, см3 | 0,426 |
| Объем гильзы с посаженной пулей, см3 | 0,25 |
| Диаметр капсюльного гнезда, мм | 4,6 |
| Материал гильзы | латунь |
|
Дополнительные сведения
|
|
| Площадь поперечного сечения канала ствола с учетом нарезов (пистолет ПСМ), см2 | 0,476 |
| Начальная скорость пули (пистолет ПСМ), м/с | 315–325 |
|
Пуля со стальным сердечником
|
|
1.Оболочка 2.Свинцовый сердечник 3.Стальной сердечник |
|
|
Характеристики пули
|
|
| Тип пули | оболочечная |
| Масса пули, г | 2,4 |
| Длина пули, мм | 14,2–14,3 |
| Диаметр ведущей части пули, мм | 5,59–5,70 |
| Поперечная нагрузка пули, г/см2 | 9,7 |
| Материал оболочки | сталь плакированная томпаком |
| Масса сердечника, г | 0,51 |
| Материал сердечника | Ст. 10 |
| Дульная энергия пули (пистолет ПСМ), Дж | 119,07–126,75 |
|
6,35 мм ПАТРОН К ПИСТОЛЕТУ ТК (6,35х15) РОССИЙСКОГО ПРОИЗВОДСТВА
|
|
1.Оболочка 2.Свинцовый сердечник |
|
|
Характеристики патрона
|
|
| Калибр, мм | 6,35 |
| Длина патрона, мм | 22,48–22,73 |
| Масса патрона, г | 5,3–5,6 |
| Тип крепления пули | обжим дульца гильзы |
|
Характеристики порохового заряда
|
|
| Тип пороха | пироксилиновый |
| Марка пороха | ВП |
| Плотность заряжания (г/см3) | 0,31–0,426 |
| Масса порохового заряда, г | 0,08–0,11 |
| Максимальное давление пороховых газов, МПа (кг/см2) | 78–80 (780–800) |
|
Характеристики пули
|
|
| Тип пули | оболочечная |
| Масса пули, г | 3,19–3,20 |
| Длина пули, мм | 11,56–11,81 |
| Диаметр ведущей части пули, мм | 6,38–6,43 |
| Поперечная нагрузка пули, г/см | 2 9,9 |
| Материал оболочки | мельхиор, латунь, медь покрытые никелем |
| Масса сердечника, г | 2,5 |
| Материал сердечника | свинец с примесью 1–2 % сурьмы |
|
Характеристики гильзы
|
|
| Тип гильзы | цилиндрическая, |
| Масса гильзы, г | 2,0–2,1 |
| Длина гильзы, мм | 15,1–15,25 |
| Свободный объем гильзы, см3 | 0,398 |
| Объем гильзы с посаженной пулей, см3 | 0,258 |
| Диаметр капсюльного гнезда, мм | 4,4 |
| Материал гильзы | латунь |
|
Дополнительные сведения
|
|
| Площадь поперечного сечения канала ствола с учетом нарезов, см2 | 0,331 |
| Начальная скорость пули (пистолет ТК), м/с | 228м |
| Дульная энергия пули (пистолет ТК), Дж | 82,9–83,17 |