
На охотах на крупного зверя с гладкоствольным охотничьим ружьем применяли различные тяжелые пули, масса которых приближалась к массе калиберных. Позднее стали использовать "жеребий" — свинцовую пулю, изготовленную в форме цилиндра. Нетрудно догадаться, насколько "жеребий", высота которого равна его калибру, был тяжелее обычной круглой пули того же калибра.
Однако бесконечно увеличивать массу пули нельзя, поскольку это приводит к усилению отдачи при стрельбе.
Известно, что для надежного поражения зверя масса снаряда должна составлять 1/5000 часть массы его тела. Например, при охоте на лося, который весит около 400 кг, желательно использовать пулю массой 80 г.
Но для стрельбы из обычных гладкоствольных ружей, такой снаряд, конечно же, не подходит. Следовательно, нужно избрать другой путь.
Остановить зверя на месте одним выстрелом можно за счет точного поражения жизненно важных органов животного или увеличения площади поражения, вследствие чего наступает болевой шок. Для этого применяют специальную пулю, которая при попадании в цель меняет свою первоначальную форму. Такие пули получили название экспансивных.
Одной из первых охотничьих пуль, обладающих подобными свойствами, была французская "J–B". Внешне это был тот же "жеребий" — свинцовый цилиндр, при попадании в цель распадавшийся на восемь составных частей. Добиться такого эффекта можно было, поместив в пулелейку перед отливкой перегородку из тонкого картона. Пули "J–B" применяли вплоть до появления пуль стрелочного типа.
На примере пуль для гладкоствольного оружия можно проследить эволюцию, в первую очередь, армейских боеприпасов прошлого века — экспансивных разрывных пуль Мида и "ВЕМ". Полости их корпусов были заполнены составами, которые взрывались при попадании в цель.
![]() |
| Пуля "J–B": 1– картонные вставки |
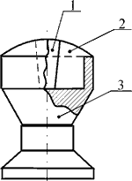
![]() |
| Пуля "ВЕМ": 1– восковая пробка; 2– разрывной состав (смесь бертолетовой соли с сахаром); 3– свинцовый корпус пули; 4;6– картонные прокладки; 5– просаленый войлочный пыж–стабилизатор; 7– железный шуруп |
![]() |
| Пуля Мида –"куколка":1– восковая пробка; 2– гремучий состав (воспламенитель); 3– разрывной состав (черный порох); 4– полый свинцовый шарообразный корпус пули; 5– обертка пули из ткани; 6-обмотка нитками; 7– стабилизатор, образованный тканью |
![]() |
| Пуля Вицлебена: 1–свинцовая головка пули; 2– картонные вставки; 3– деревянный стабилизатор; 4– обмотка шпагатом |
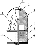
![]() |
| Пуля Якана: 1–свинцовая пластинка-пробка; 2–экспрессивная пустота; 3–свинцовый корпус пули; 4, 6–картонные прокладки; 5–войлочный пыж-стабилизатор; 7–центрирующие наклонные ребра; 8–свинцовый хвостовик |
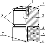
![]() |
| Пуля Ширинского – Шихматова: 1– восковая пробка; 2– заполнение экспрессивной полости салом; 3– свинцовый корпус пули; 4, 6– картонные прокладки; 5– войлочный пыж-стабилизатор; 7– свинцовый хвостовик; 8– ведущие пояски, которые сминаются в дульном сужении канала ствола |
![]() |
| Пуля "Гуаланди–Профешнл" |
![]() |
| Пуля Бублия: 1–экспрессивная пустота; 2–заливка свинцом; 3–корпус пули (латунь) |
![]() |
| Пуля Пасечного: 1–экспрессивная пустота заполненая парафином; 2–заливка свинцом; 3–корпус пули (латунь) |
![]() |
| Подкалиберная пуля с четырехлопастным стабилизатором: А1– корпус пули (латунь); В1–полость, заполненная свинцом; С1–четырехлопастный стабилизатор (полиамид) |
Пуля Мида — это полый свинцовый шар, заполненный черным порохом. В отверстие, сделанное в стенке корпуса пули, засыпали воспламеняющий состав. Снаружи отверстие заделывали восковой пробкой. Для того чтобы пуля ударялась о цель восковой пробкой, ее оснащали простейшим стабилизатором, так называемой куколкой. Пулю заворачивали в кусочек ткани, и у самого корпуса пули ткань перевязывали ниткой. Таким образом, снаряд приобретал своеобразный стабилизатор —"юбку".
Конструкция пули "ВЕМ" в корне отличалась от конструкции пули Мида. Ее полость заполняли смесью бертолетовой соли с сахаром. "ВЕМ" — это свинцовая пуля стрелочного типа с войлочным пыжом-стабилизатором.
Составы, которыми заполняли корпуса обоих снарядов, при попадании в цель детонировали и разрывали корпуса пуль на части, которые наносили существенные ранения.
Но вернемся к охотничьим экспансивным пулям. При появлении пуль стрелочного типа для повышения степени воздействия на цель им старались придать свойства экспансивных. Первая разработка пули Вицлебена — свинцовый цилиндр, оснащенный простым цилиндрическим деревянным стабилизатором, корпус которого распадался на четыре части (тот же принцип действия, что и в пуле "J–B").
Удачной считается конструкция экспансивной охотничьей пули литовского разработчика Яканиса. Такие пули стрелочно–турбинного типа с войлочным пыжом–стабилизатором, прикрепленным к свинцовому корпусу, выпускают и сегодня в некоторых странах Западной Европы. На боковой поверхности цилиндрического корпуса пуль Якана сделаны наклонные ребра, а в "заоваленой" головной части, по продольной оси пули, размещена экспрессивная полость, представляющая собой усеченный конус. Большее его основание — переднее — закрывается свинцовой пластинкой или заливается воском. При попадании пули в цель пластинка или воск сминаются и полость заполняется частицами разрушенных тканей тела животного. В процессе движения пули в теле животного давление в конусе возрастает, тем самым, заставляя пулю раскрываться, по предусмотренным конструкцией линиям, наподобие цветка с четырьмя лепестками. В таком виде пуля способна нанести рваную рану.
Но, как считают специалисты, все же наиболее удачной конструкцией пуль является пуля князя А.А. Ширинского-Шихматова (масса для 12 калибра около 37 г), разработанная в начале XX в. Она как нельзя лучше подходит для охот на крупного зверя. Разработчик не сразу пришел к окончательному конструктивному решению. Прежде чем создать экспансивную пулю стрелочного типа, Ширинский – Шихматов усовершенствовал пулю "жеребий", приспособив ее для стрельбы из стволов с дульными сужениями. Он оснастил свинцовый цилиндр двумя центрирующими поясками, слегка "заовалил" головную часть и дополнил "творение" экспрессивной полостью (подобная полость сделана в пуле Якана).
Благодаря войлочному пыжу–стабилизатору пуля обрела законченный вид. Можно лишь сожалеть, что такие пули не выпускают в наши дни. На охоте по крупному зверю этот снаряд был бы незаменим, так как создавался специально для медвежьей охоты. Такую пулю иногда называли "жеребий" Ширинского – Шихматова.
Экспансивные свойства пуль, увеличивая поражающее действие, позволяют снизить их массу. В настоящее время перспективным направлением в разработке и создании пуль для гладких стволов являются подкалиберные пули. Они легче калиберных, поэтому придание экспансивных свойств этим пулям просто необходимо. Пример тому — пуля Полева, появившаяся "на свет" обычной подкалиберной пулей стрелочного типа. Но уже после третьей модификации пуля стала экспансивной, от чего только выиграла. А вот французская подкалиберная пуля "Совестр" сразу была создана как экспансивная. Оба снаряда пополнили существующий арсенал охотников.
Сегодня в "семейство" экспансивных пуль помимо подкалиберных, входят и калиберные —"Гуаланди Профешнл" (масса 32 г) и ее "сестра" "Гуаланди Профешнл–Магнум" (масса 40 г). Последняя разработана для снаряжения патронов повышенной мощности. На корпусах обеих пуль стрелочного типа, снабженных полиэтиленовыми стабилизаторами, сделаны насечки, по которым при попадании в цель они распадаются на части.
Свою лепту в разработку экспансивных пуль для гладкоствольного оружия внесли и охотники-рационализаторы советского периода. Поясню: в отдаленных районах огромной страны трудно было приобрести пули, которые по своим характеристикам соответствовали бы конкретным видам охоты. Поэтому охотники, опираясь на собственный опыт, старались не только улучшить свойства уже существующих боеприпасов, упростить их конструкцию, как это сделал в свое время Рубейкин с пулей Блондо, но и создать нечто совершенно новое. Среди таких разработок встречаются и довольно удачные решения.
Катушечные пули Бублия и Пасечного внешне и конструктивно очень похожи. Это усовершенствованные экспансивные варианты известной точеной пули Рубейкина, которые различаются лишь формой головной части, и составом, заполняющим полость снаряда. Пуля Пасечного заполнена парафином. Корпуса обеих пуль выполнены из латуни, толщина стенок головной части выбрана таким образом, что предусматривает разрыв снаряда при попадании в цель.
Несколько позднее Королев создал пулю стрелочного типа с латунным корпусом, выполненным в форме цилиндра с перегородкой внутри, напоминающей диск. В головной части пули, залитой свинцом, есть экспрессивная пустота. В хвостовую часть вставлен алюминиевый цилиндр–стабилизатор, закрепленный с помощью винта.
Все три пули — Бублия, Пасечного и Королева — подкалиберные и снаряжаются в патрон с помощью контейнера.
На Чукотке местные охотники для охоты на моржа использовали необычную подкалиберную экспансивную пулю (ее чертеж любезно предоставил В.П. Петелько). По форме она напоминает ракету с четырехлопастным стабилизатором. Передние грани лопастей скошены, благодаря чему пуля раскручивается в полете вокруг продольной оси. Появление такой пули было вызвано не только специфическими условиями охоты, но и необходимостью глубокого проникновения в тело объекта охоты и увеличения площади раневого отверстия. Поэтому для 12 калибра (диаметр канала ствола 18,2–18,5 мм) диаметр корпуса пули составляет 8 мм, а длина пули — 49 мм. Такие параметры выбраны не случайно. Охотникам на моржей приходится стрелять на значительные дистанции, следовательно, необходимы пули с хорошей кучностью боя и малой потерей энергии на траектории полета. Это могут обеспечить лишь пули с небольшой площадью поперечного сечения и, наоборот, высокой поперечной нагрузкой, т. е. подкалиберные экспансивные пули.
Мне кажется, что в отношении экспансивных пуль для гладкоствольного оружия конструкторы и разработчики еще не сказали свое веское слово.
К сожалению, сегодня в магазинах не встретишь ни одного образца экспансивных пуль украинского производства, а цена французского "Совестра" для большинства отечественных охотников недоступна. Вызывает удивление и тот факт, что в продажу не поступают пули Полева последней модификации, с экспрессивной полостью внутри, обладающие прекрасными баллистическими характеристиками и большей, по сравнению с первым вариантом, массой — 32 г.
В заключение хотелось бы добавить, что тема статьи была выбрана не случайно. Согласно действующему законодательству, отстрел копытных должен производиться только пулями. Это, в свою очередь, требует от стрелка помимо специальной подготовки и умение правильно выбирать боеприпасы, позволяющие надежно поразить зверя, а значит добыть столь желанный для каждого охотника трофей.